產品名稱:高加危急疏水調節閥
產品型號:STO
產品口徑:DN50-150
產品壓力:0.6~10.0Mpa
產品材質:鑄鋼、不銹鋼、合金鋼等
聯系電話:15901687301
產品詳情:

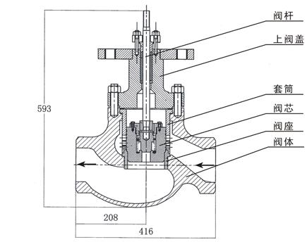
高加危急疏水調節STO是一種專門用于高加危急疏水系統等大流量大口徑并要求密閉性好的特種調節閥,該閥也是凝泵再循環閥STU的最好選擇,此類閥門采用先進的先導閥結構,具有以下優點: 套筒節流,節流面與密封面分開,閥內主件采用特種不銹鋼經表面硬化處理,硬度達到HRC70左右,關閉嚴密,壽命長。 調節特性好,調節范圍大,開關靈活。 采用先導閥結構,使閥門開啟力降低15倍左右,有效地減少了執行機構的體積。
工作原理:當閥門需要緊急打開的時候,執行機構帶動閥桿先打開小閥芯(先導閥芯),使閥腔內急速泄壓,小閥芯繼續運行帶動大閥芯開啟。 技術參數和性能 閥體形式 鑄造直通式 公稱通徑 DN100,125,150,200 公稱壓力 PN4.0,6.4,10Mpa 閥體材料 WCB 介質溫度 小于260C 閥內組件 440B 流量特性 線性 泄漏量 符合ANSI B16.104—1976 V級
串級式最小流量再循環調節閥KV值和行程
|
公稱通徑DN
|
50
|
80
|
100
|
150
|
|
KV值
|
8.0,9.5
|
10
|
15
|
20
|
|
額定行程
|
20
|
20
|
25
|
38
|
迷宮式最小流量再循環調節閥KV值和行程
|
公稱通徑DN
|
50
|
80
|
100
|
150
|
|
KV值
|
11
|
12.8
|
13
|
26
|
|
額定行程
|
60
|
65
|
60
|
75
|
除流量特性是線性外,迷宮式的其他參數均與串級式結構相同。
閥體
形 式 鍛造直通式 角型 Z型
公稱通徑 DN50,80,100,150
公稱壓力 PN25,32 Mpa
連接形式 BW焊接
材 料 20#鍛鋼
工作溫度 小于350
動作時間 全關到全開小于5秒
泄漏量 符合ANSI B16.104—1976 V級
閥內組件
閥芯形式 防空化串級時節流閥芯
流量特性 開—關 二位式 等百分比 線性
閥內組件 特種合金鋼表面硬化處理
流體方向 高進低出
閥體組件尺寸表
|
公稱通徑DN
|
D
|
H
|
B
|
T
|
|
50
|
480
|
610
|
|
|
|
80
|
500
|
690
|
460
|
685
|
|
100
|
540
|
660
|
430
|
670
|
|
150
|
590
|
765
|
490
|
765
|
訂貨須知
1.產品型號與名稱
2.公稱通徑DN(mm)
3.公稱壓力
4.流量特性
5.閥體材質
6.額定流量系數
7.介質種類和溫度范圍
8.閥前后壓力(壓差)
9.電源電壓和控制信號